Vibration Control
Product Details
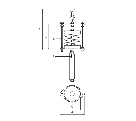
Composition
- Powder coated Spring
- Fixed V-Bolt
- Neoprene(Upper, Lower Cup)
- Adjusting Nut
- I-Nut
- Turn Buckle
- Hanger Bolt


Product Usage
- Vibration controls of horizontal pipe located on the ceiling of machine room and air-conditioning room
- Vibration controls of Pipe from studio and sound box
- Vibration controls of Pipe and Duct from semiconductor factory
LOAD SELECTION GUIDE & DIMENSION
Deflection 25mm
Deflection 50mm






